Conception de décoration murale, idées d'intérieur
La décoration murale design en ce moment dans la pièce se fait avec différents matériaux. Ils sont parfaitement combinés entre eux et créent ainsi une atmosphère unique de confort et de confort dans la pièce.
Le contenu de l'article
Options de décoration
Pour la décoration intérieure, vous pouvez utiliser n'importe quel matériau moderne.
Il convient parfaitement:
- Bois.
- Naturel ou faux diamant.
- Revêtement ou panneaux en plastique.
- Tuile en céramique.
- plâtre décoratif ou cloison sèche et autres matériaux.
Remarque.
Chaque personne de sa vie essaie d'utiliser des matériaux respectueux de l'environnement pour décorer sa maison. Pour cette raison, la décoration murale à l'intérieur est récemment devenue très populaire.
Bois pour la décoration intérieure
Ce matériau est non seulement respectueux de l'environnement, mais également durable. Il a une résistance élevée et d'excellentes propriétés.
Le bois respire, ce qui signifie qu'il peut passer librement l'air. Résiste à d'énormes charges, et en même temps sa structure n'est pas déformée.
La décoration murale en bois se distingue par son originalité.
Dans de tels travaux, vous pouvez utiliser:
- Doublure en bois.
- Eurolining, qui diffère de la précédente par les méthodes de conception.
- Bûche traitée ou son imitation (blockhaus).
- Des planches en bois ordinaires bien traitées avec des agents antiseptiques, mais à leur surface, à certains endroits, ont des restes d'écorce pour décorer la pièce.
Les avantages du bois dans la décoration
Le bois a de bonnes propriétés et caractéristiques.
Pour la décoration, des espèces de conifères et de feuillus de certains arbres peuvent être utilisées:
- Chêne.
- L'arbre rouge.
- Bouleau (matériau souple).
- Cendre.
- Pin.
- Épicéa.
- Cèdre et autres espèces d'arbres.
Caractéristiques des matériaux en bois:
- décoration murale sous la bûche est réalisée par un blockhaus ou un matériau naturel ordinaire. D'une part, le blockhaus a une surface parfaitement plane, d'autre part, en apparence, il ressemble à une poutre arrondie.
- Le prix des matériaux naturels comme le bois est trop élevé et cela ne permet pas d'appliquer ce mode de décoration partout. Très souvent, le bois est utilisé en combinaison avec des murs en plâtre.
Superbe avec une pierre naturelle ou décorative. - Il n'est pas nécessaire de décorer toutes les surfaces d'une pièce avec un arbre. Souvent, il y a des boiseries dans les salons ou les cheminées, le design crée une atmosphère chaleureuse.
Pointe. Ce type de matériau ne doit pas être utilisé dans les pièces à forte humidité de l'air, car il est capable d'absorber l'humidité assez facilement malgré son traitement de haute qualité et long.
- S'il y a un désir de protéger la surface du matériau du bois, il est verni. Il ne permettra pas à l'humidité de pénétrer dans la structure du bois et ainsi d'augmenter sa durée de vie.
Permet de monter du matériel sur n'importe quelle surface. Seulement pour cela, vous devez effectuer une série de travaux préparatoires à ce sujet.
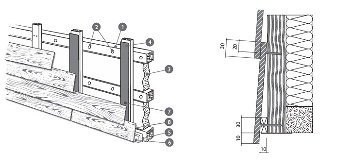
Préparation de la surface pour l'installation du matériau de finition du bois
Cela ne veut pas dire que vous pouvez monter du bois sur une surface simple.Cela vaut la peine de considérer que ce matériau respire et c'est pourquoi sur n'importe quelle surface une latte est faite pour lui, ce qui créera un coussin d'air et permettra d'utiliser la finition du bois plus longtemps.
Pour fabriquer la caisse, vous aurez besoin de:
- Planches de bois de même épaisseur.
- Chevilles pour fixer les guides principaux sur la surface;
- Marteau perforateur.
- Vis à bois pour fixer tous les éléments de cette conception.
- Niveau de construction pour une construction précise et uniforme de la caisse sur la surface.
- Scie ou scie sauteuse pour couper la bonne taille.
- Crayon et règle.
Installation:
- Tout d'abord, des planches de bois verticales sont montées à la surface avec des chevilles et un poinçon, qui auront une fonction de roulement.
- Ensuite, des bandes horizontales y sont fixées avec des vis autotaraudeuses et un tournevis, créant ainsi une caisse. Il n'y a rien de compliqué dans ce type de travail, et ce n'est pas difficile de réaliser toutes les actions soi-même.
- Après cela, le matériau lui-même est monté sur la caisse. Cela peut être fait avec des vis autotaraudeuses avec des chapeaux ou des clous décoratifs.
- Le choix dépend du poids de la finition bois.
Pointe.
Si un matériau de finition plutôt massif en bois est monté sur la caisse, il est plus rationnel d'utiliser des vis autotaraudeuses avec de longues pattes et de grands chapeaux. Si le poids de la finition est petit, vous pouvez le faire avec de petits clous standard.
- Lors des travaux de finition avec du bois, il est possible de réaliser isolation de la maison. Pour cela, un appareil de chauffage est pris, qui est produit en tapis et a une structure plutôt dense: mousse de polystyrène, mousse de polyuréthane, mousse de polystyrène.
Pour travailler avec eux, vous aurez besoin de:
- Couteau à papeterie.
- Règle et crayon.
- Colle de construction (si nécessaire).
Pointe. Appliquer de la colle de construction uniquement si le matériau d'isolation dans les cellules n'est pas étanche.
Il est appliqué à la surface du mur et à l'arrière de l'isolant. Autrement dit, collez-le à la surface.
Installation:
- Toutes les distances entre l'isolation et les lattes pour une plus grande étanchéité des travaux de finition peuvent être remplies de mousse de polyuréthane, sur l'emballage dont il existe une instruction spéciale d'utilisation.
- La mousse ne devrait pas être beaucoup, car après séchage, elle a la capacité de se dilater et d'augmenter en volume. Ses surplus sont coupés avec un couteau de cuisine ou un couteau de cuisine ordinaire.
Pointe. Ces actions ne sont effectuées qu'un jour après l'application de la mousse. Pendant ce temps, le produit a déjà séché.
- Ces types de matériaux sont très faciles à couper et à traiter.
- À l'aide d'un couteau de bureau, les dimensions de l'isolant sont coupées, ce qui correspond à la taille des cellules de la caisse.
- Les éléments résultants sont étroitement insérés dans les cellules du cadre.
- Mais ici, il convient de considérer que si des travaux d'isolation sont toujours en cours, cela signifie que la finition en bois sera sans le coussin d'air nécessaire.
Par conséquent, au-dessus de la première caisse, une seconde de la même taille est montée en utilisant le même matériau et le même outil.
Pose de finitions en bois
Le bois ayant une structure dense dans tous les matériaux de finition, son installation doit être effectuée à l'aide de tous les outils habituels.
Vous aurez donc besoin de:
- Tournevis et marteau.
- Vis ou clous à bois.
- Colle de construction.
- Scellant.
Travaux:
- Le matériau est monté sur la caisse soit avec des vis autotaraudeuses, soit avec des clous.
- Ce choix dépend du poids du matériau lui-même.
- La colle de construction n'est utilisée que si de fines couches de bois sont utilisées dans la décoration.
Tous les joints du matériau doivent être traités avec du mastic afin que l'humidité ne pénètre pas sous la finition. À cause de cela, les maladies fongiques peuvent commencer à se développer.
Pierre décorative et naturelle dans la décoration de la pièce
La finition des murs intérieurs sous la pierre a commencé à être trouvée assez souvent. Il a l'air original et peut donner à la pièce un caractère unique et est fabriqué soit avec de l'aggloméré naturel soit avec de la pierre artificielle.
Par leurs propriétés, ces deux types de matériaux n'ont pratiquement pas de différences particulières. La principale différence est le prix.
Sur le roche décorative le coût est plusieurs fois inférieur à celui d'un matériau naturel.L'apparence de la pierre artificielle est très similaire au matériau naturel.
Il existe différentes simulations:
- Marbre
- Granit
- Grès.
- Onyx et autres matériaux.
L'utilisation de l'un ou l'autre type de pierre décorative dépend de la fonctionnalité de la pièce. Disons que les murs en marbre dans une cheminée ou un salon ont fière allure.
Bien qu'il ne soit pas trop attrayant pour l'utiliser dans la zone de couchage.
Propriétés de la pierre artificielle
La pierre décorative est fiable et pratique. Sa surface n'absorbe pas divers contaminants et poussières.
Il est capable de résister à des températures extrêmes importantes.
Fait à partir de:
- Gypse.
- Acrylique
- Substance synthétique.
La surface de la pierre artificielle peut être:
- Mat
- Brillant.
- Déchiré ou en relief et ainsi de suite.
- Ils sont nécessairement recouverts d'un agent protecteur spécial.
- L'installation de la pierre décorative est très simple.
Pierre artificielle en saillie
La décoration murale en pierre DIY commence par la préparation de la surface. Il doit être lisse et bien nettoyé.
Vous pouvez niveler la surface avec des cloisons sèches, qui sont montées sur un cadre de profilé métallique ou avec du plâtre, qui a un certain nombre d'œuvres pour son application.
Remarque. Assurez-vous que chaque type de surface doit être apprêté.
Pour installer la pierre décorative, vous avez besoin de:
- Mortier colle ou ciment.
- Capacité de les mélanger.
- Mélangeur de construction.
- Niveau pour vérifier l'emplacement correct des dalles de pierre sur la surface.
- Coupe-carreaux pour couper le matériau.
- Mastic décoratif pour masquer les coutures.
Étapes:
- Initialement, de la colle ou une solution est appliquée sur la surface et il faut lui donner un peu de temps pour rester sur la surface. La première couche doit être absorbée un peu pour une plus grande durabilité de la finition.
- En outre, cet outil est appliqué à l'arrière de la pierre. Ne pas l'étaler sur toute la surface intérieure du matériau.
Il suffira de l'appliquer au centre même et lors de l'installation, il sera réparti uniformément sur différents côtés. - Chacun de ces éléments de finition doit être fixé à l'aide d'un niveau pour assurer une adhérence uniforme du matériau.
- Vous pouvez monter un joint de pierre décoratif à joint ou à la même petite distance, qui sera ensuite masqué avec du mastic décoratif.
Si vous avez des questions concernant l'installation de pierre artificielle, vous pouvez regarder la vidéo, qui montre l'ensemble du processus du début à la fin.












Lors de la conception du design de la décoration murale, des idées d'intérieur, tout d'abord, vous devez parvenir à une unité harmonieuse de vos fantasmes, et cela peut être difficile.